Avec 50 ans d'expérience dans la conception de chaudières bûche, GUNTAMATC a développé la Biosmart : la chaudière compacte et efficace.
Le foyer à double enveloppe renforcé accueille 100 litres de bûches de 30cm. Le brûleur réfractaire et son tunnel de gazéification tirent la meilleure énergie des gaz de fumée. La sonde lambda analyse et gère les paramètres de combustion.
Pratique et compacte : avec ses portes de chargement réversibles, le nettoyage des carneaux, un allumage automatique ainsi qu'une régulation pour piloter toute l'installation chauffage.
La Biosmart est neutre en CO2 et préserve le climat. Elle convient aux maisons individuelles moyennes ou basse énergie et peut servir d'appoint dans les bâtiments plus énergivores.
Pour bûches de 33 cm, ce foyer double enveloppe est renforcé par des plaques en fonte. Large porte réversible pour facilement charger les bûches.
La Biosmart est chargée à froid : entre deux feux. Elle s'allumera plus tard : quand ce sera nécessaire : quand la réserve d'énergie ne sera plus assez chaude.
Du foyer, les gaz de combustion entrent dans le brûleur réfractaire. Le tunnel de gazéification tire la meilleure énergie des gaz de fumée.
Analyse de combustion et gestion de l'air avec volet d'air motorisé. Répartition de l'air selon la phase de combustion.
Grand échangeur pour maximaliser le transfert d'énergie. Nettoyage manuel mécanique de l'échangeur.
La porte inférieure donne accès à la grille foyère, la zone d'allumage et le cendrier. Maintenance aisée par l'avant et le dessus.
L'utilisateur détermine son chauffage : horaire et t°, puis l'installation s'adapte. Une commande simplifiée est placée dans la maison.
Gestion de l'installation : 1 circuit direct, 2 mélangés, ECS, ballon tampon, pompe recyclage avec v3v retour ainsi qu'une relève par une chaudière automatique.
Par internet, gestion de l'installation via ordinateur et/ou APP sur smartphone. Consultation des températures. Notification si défaut.
Les composants électroniques et électriques sont communs à toutes les chaudières GUNTAMATIC. Ceci assure un très haut niveau de fiabilité.
La chaudière est composée de matériaux nobles. La production, l'assemblage et la finition sont contrôlés et répondent à de très hautes exigences.
Les moteurs et ventilateurs sont dimensionnés pour une durée de vie de plus de 20 ans : avec réserve de couple très élevée.

La Biosmart peut brûler toutes les essences de bois ! Du bois dur ou du bois tendre. Du feuillu ou du résineux. Il est toutefois important de retenir que le bois doit être suffisament sec : selon l'essence, prévoir 2 à 3 ans de séchage.
La question est simple, mais la réponse moins simple...
Selon son essence et son hygrométrie, le bois a un pouvoir calorifique variable déterminé par kilo : +/- 5 kWh/kg si bois anhydre, et 3,3 kWh/kg si bois a 25% d'humidité. MAIS, dans nos régions, à la production ou à la vente, on ne parle pas du bois en kilo, on compte le bois en sters.
LE ster est une vieille unité d'encombrement, ou de volume = 1M3 de rondins d'1M de long. La quantité de bois dans un ster est variable en fonction du diamètre des rondins. Par exemple, si les rondins ont un diamètre de 23cm, le coéficiant d'empilage est de 65% de bois et 35% d'air . Si le diamètre des rondins varie, l'empilage de bois varie aussi... Pour rendre le tout encore plus compliqué, une fois ces rondins d'un mètre coupés en 33 ou 50cm de long, puis fendus, le volume du ster va encore diminuer.
Pour faire simple, on estime généralement que :
1 ster = 0,75M3 de fendus en longueur de 50cm = 0,66M3 de fendus en 33cm
1 ster de chêne = 480kg de bois = 1.580 kWh**
1 ster d'épicéa = 315kg de bois = 1.040 kWh**
** kWh si 25% d'humidité : sec 2 à 3 ans.

Selon le dossier énergétique d'un nouveau bâtiment, ou l'historique d'une maison existante, il est possible de déterminer la consommation annuelle : en kWh/an. Ainsi le nombre de sters, de feux et de charges de bois sont prévisibles.
* Attention : un feu "normal" dure 6 heures. Au delà de 280 feux/an, les jours de très, très grand froid, il est probable que 3 feux/jour soient nécessaires : ce qui est difficile à gérer. Alors, une chaudière d'appoint pourrait, dans ce cas, venir apporter le complément. Mieux encore : opter pour une chaudière bois plus puissante : la BMK !
Les sters de bois prennent de la place. D'autant plus qu'il est préférable de stocker 2 ans de combustible pour le laisser sécher. Quand le bois est stocké sur 2 mètres de haut : 3 sters s'empilent sur 1M2.

Une fois la combustion terminée : la Biosmart s'arrète. A partir de ce moment, et dans les heures qui suivent, la charge de bois pour le feu suivant peut être effectuée.
Face à l'orifice de l'allumeur, 2 morceaux de bois sont placés en V. Dans leur creux, un peu de pellets ou de copeaux serviront d'allumeur. Le foyer peut alors être complètement chargé de bûches.
Sur l'écran tactile, l'allumage est programmé : la chaudière s'allumera quand ce sera nécéssaire : quand la réserve d'eau ne sera plus assez chaude.

Durant ses quelques heures de combustion, la Biosmart dégage de l'énergie. Selon les configurations et les saisons, elle produit un peu plus ou beaucoup plus d'énergie que la demande du bâtment.
Grâce à cela, le surplus d'énergie produit peut être tout d'abord stocké dans des ballons tampon. Ensuite, selon la demande du chauffage, l'énergie stockée sera envoyée dans les circuits.
Le volume tampon à prévoir est variable selon le type de bâtiment et le type de circuits à alimenter.
En résumé, le volume peut être ainsi envisagé :
Biosmart + plancher chauffant : 1500 lit tampon
Biosmart + radiateurs : 2000 lit tampon
Si pas d'allumage automatique : ajouter 500 litres.
Si ECS important : ajouter le volume ECS au volume tampon.
| BIOSMART | 14 | 22 | |
| Puissance calorifique | 14,0 | 21,6 | kW |
| Classe d'efficacité énergétique | A+ | A+ | |
| Rendement | 90 | 90 | % |
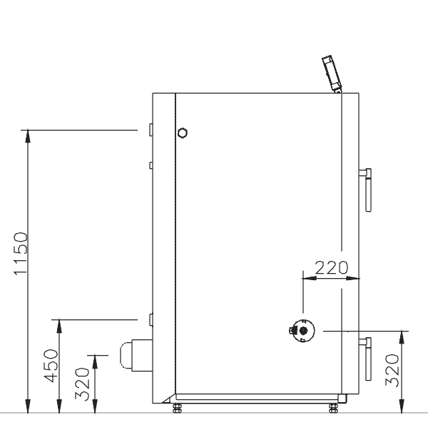
| Longueur bûche | 330 | 330 | mm |
| Volume du compartiment à bois | 100 | 100 | litre |
| Largeur de l'espace de chargement | 370 | 370 | mm |
| Profondeur du foyer de combustion | 300 | 300 | mm |
| Volume d'eau | 100 | 100 | litre |
| Pression de service max. | 3 | 3 | bar | Départ retour | 5/4'' | 5/4'' | Ø pouce |
| Gestion du retour avec | V3V | V3V | |
| Si thermostatique t° retour | > 55° | > 55° | °C |
| Débit min. pompe retour | 1.000 | 1.900 | lit / h |
| Serpentin décharge thermique | 3/4'' | 3/4'' | Ø pouce |
| Besoin de tirage de cheminée | 0,10 | 0,15 | mbar |
| Tube de fumée | 130 | 130 | Ø mm |
| Ventillation chaufferie min. | 400 | 400 | cm² |
| Largeur de passage pour mise en place | 65 | 65 | cm |
| Largeur de passage sans jaquette | 60 | 60 | cm |
| Hauteur local min. | 160 | 160 | cm |
| Poids de transport env. | 400 | 410 | kg |
| Raccordement électrique | 230 / 13 | 230 / 13 | V / A |
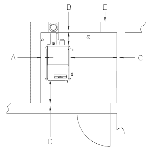
A : distance à gauche : 60 cm
Mini si allumage : 40 cm
Mini sans allumage : 10 cm
Si mini, alors 60 cm à droite
B : distance à l’arrière : 60 cm
Mini : 35 cm
C : distance à droite : 60 cm
Mini : 30 cm
Si mini, alors 60 cm à gauche
D : distance à l’avant : 85 cm
Mini : 55 cm
E : ventilation : min 400 cm²
Biosmart notice d'utilisation et d'entretien
GUNTAMATIC online : gestion via internet
Biosmart exemples de prix